Carrello
Non ci sono più articoli nel tuo carrello
Italiano
EUR €
16 altri prodotti della stessa categoria:
40,45 €
Caratteristiche:
• Taglio automatico al raggiungimento della tensione impostata
• Dotata di regolazione della tensione di serraggio
• Struttura in polimero e fibra di vetro, parti interne in metallo
0,00 €
Caratteristiche:
● Con trasformatore di sicurezza 230/12V
● Cavo H05VV-F 2x1,0 mm²
● 15 m di cavo arrotolato
● Cavo in entrata da 1,5 m con spina SCHUKO
● Lunghezza cavo fuori scocca 1 m
● Cremagliera disinseribile per cavo sempre in trazione
● Fornito con staffa orientabile di 180° e seconda staffa a incastro rapido
0,00 €
Leva intercambiabile da 250 mm per spazi ristretti, 450 mm per soluzioni intermedie ,600 mm per la massima leva.
Ganascia con apertura ampia per un grip sicuro su tubi e raccordi.
Molle elicoidali doppie per la massima durata.
Impugnatura ergonomica per il massimo comfort, migliore trasmissione della forza e meno fatica.
Design a uncino per una facile...
1,44 €
L'ancorante a percussione filettato internamente con collarino per una semplice installazione
12,92 €
MANIGLIA FLANGIATA 2 CURVE D. 20 NERA ZINCATO
0,00 €
La geometria Thunderweb consente una più rapida espulsione del truciolo. Consente inoltre di dissipare meglio il calore.Queste due caratteristiche ne conferiscono maggiore velocità di foro e maggiore durata della punta.
La sezione parabolica riduce il rischio di bloccaggio della punta in fori profondi
La sezione ha uno spessore maggiore ed aumenta...
Prodotti Ferramenta
Raccordo con attacco quadro femmina 1/2" e maschio 3/4" cromato
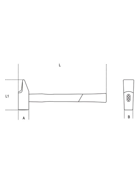
BETA
BE009200814
10,37 €
29,04 €
Diametro massimo di taglio: 25mm
Lunghezza del tubo telescopico in acciaio: 2,4 m
Lunghezza totale in due parti: 2,8 m
Lama per sega SK5 e denti tripli
Corde di nylon da 2,7 m con diametro di 1,2 mm
Design a doppie ruote Lama per trattamento termico
Lama in teflon verniciato
9,39 €
Le punte diamantata sono state sviluppate appositamente per i professionisti che hanno bisogno di perforare materiali estremamente duri come piastrelle in porcellana / gres / cava, ghisa o fibra di vetro dove è sempre più difficile lavorare con punte tradizionali. Queste punte garantiscono prestazioni eccellenti e durata superiore anche nei materiali più...
